GEDORE 1.16/1
Extractores robustos de 2 patas
8007080
4036976104721
Sin stock
Sin stock
Extractores robustos de 2 patas
No se pudo cargar la disponibilidad de retiro
Compartir
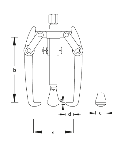
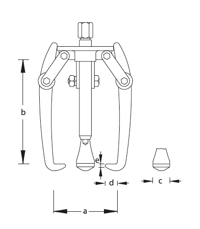
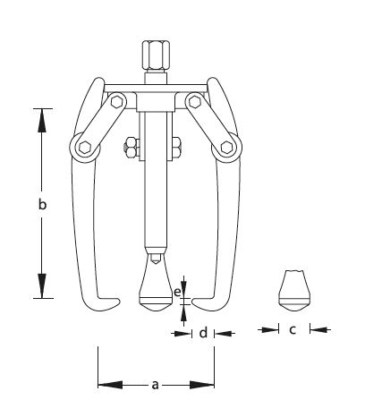
Los extractores robustos de 2 patas GEDORE 1.16 están diseñados para ofrecer un rendimiento excepcional en entornos industriales exigentes y en maquinaria pesada agrícola y de construcción. Su construcción sólida asegura una gran durabilidad y resistencia ante esfuerzos intensos. Los ganchos presionan automáticamente, facilitando un agarre seguro y eficiente sin necesidad de ajustes constantes. Además, el extractor es reutilizable mediante un husillo hidráulico compatible, lo que amplía su versatilidad y facilita su mantenimiento. Para una mayor adaptabilidad, puede ampliarse a un sistema de 3 brazos al añadir el gancho Nº 116 de tamaño superior, ideal para extracciones más complejas o de piezas de formas irregulares. Esta combinación de robustez, funcionalidad y opciones de ampliación lo convierte en una herramienta indispensable para profesionales que requieren precisión y fiabilidad en sus operaciones.

Peso y dimensiones
Peso y dimensiones
- Peso: 8.4 kg
- Longitud: 580 mm
- Anchura: 230 mm
- Altura: 205 mm
